
Produkteigenschaften:
Universal-Verschlusszylinder mit Gewindebefestigung für Garderobenschränke, Werkzeugschränke, Briefkästen, Schalter, Metall- und Holzmontage. Kombinieren Sie den Verschlusszylinder für den Briefkasten gleichschließend mit den Schließzylinder der Serie KESO 8000 Omega.
Schließwege:
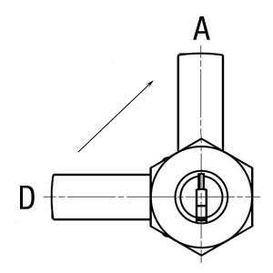
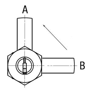
| Schließweg DA | Schließweg BA | ||
![]() | Die Verschlussstellung ist Position D. In dieser Position kann der Schlüssel abgezogen werden. Die Öffnung erfolgt in Schließrichtung nach Position A. In Position A ist offen. Ein Schlüsselabzug in Position A ist nicht möglich. | ![]() | Die Verschlussstellung ist Position B. In dieser Position kann der Schlüssel abgezogen werden. Die Öffnung erfolgt in Schließrichtung nach Position A. In Position A ist offen. Ein Schlüsselabzug in Position A ist nicht möglich. |
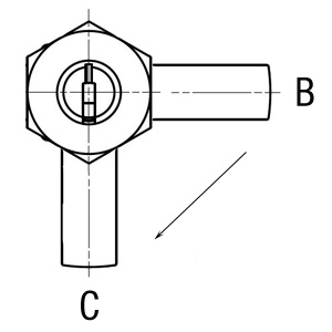
| Schließweg BC | Schließweg DC | ||
![]() | Die Verschlussstellung ist Position B. In dieser Position kann der Schlüssel abgezogen werden. Die Öffnung erfolgt in Schließrichtung nach Position C. In Position C ist offen. Ein Schlüsselabzug in Position C ist nicht möglich. | ![]() | Die Verschlussstellung ist Position D. In dieser Position kann der Schlüssel abgezogen werden. Die Öffnung erfolgt in Schließrichtung nach Position C. In Position C ist offen. Ein Schlüsselabzug in Position C ist nicht möglich. |
KESO 8000 Omega Zylinder zählen zu den sichersten Zylindern der Welt. Die Produkte erfüllen strenge VdS-Normen und sind nach EN 1303 zertifiziert. Sie sind gegen Abbrechen, Herausziehen und Aufbohren geschützt. Die Zylinder sind sicher gegen Manipulation, und Schlüsselkopien ohne Sicherungsschein sind nicht möglich. Geniessen Sie die Freiheit, sicher zu sein!

KESO 8000 Omega System
Die Omega Technologie besticht durch interaktive Stifte in den Schlüssel-Hochkantseiten. Der KESO Omega-Schlüssel besitzt eine integrierte Bolzen-/Federtechnik, welche bei der Öffnungs-/Schließfunktion im Schließzylinder betätigt werden muss. Durch diese Mechanik des Schlüssels wird die Kopiersicherheit wesentlich erhöht.
KESO 8000 Omega innovative Technologie und Schweizer Präzision
Aktiver Kopierschutz
Jeder Schlüssel verfügt über ein bewegliches Element, das durch eine spezielle Konstruktion im Zylinder abgefragt wird. Dieser aktive Schutz garantiert, dass nur KESO-Schlüssel die KESO-Zylinder öffnen können.
Neues Baukastensystem
Die neue Zylinderkonstruktion beruht auf einem modularen Baukasten mit Insert-System. So können die Zylinder flexibel und individuell angepasst werden, was eine kurze Liefer- und Einbauzeit garantiert.
Patentlaufzeit bis 2034
Dank einer Patentlaufzeit bis 2034 und einem funktionalen Designschutz bietet das KESO-System einen sehr langen Investitionsschutz.
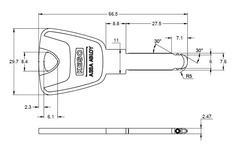
Die neuen Wendeschlüssel von KESO | ||||
| für technische Abmessungen bitte auf den jeweiligen Schlüssel klicken! | ||||
| Rundschlüssel | Trapezschlüssel | Langschlüssel | Extralangschlüssel | |
Der Rundschlüssel ist der Klassiker unter den Schlüsselformen, er wird in allen KESO Schließsystemen angeboten. Der Schlüssel ist aus bruchfestem, korrosionsbeständigem Neusilber gefertigt. Eine Hartverchromung zur Verbesserung der Verschleißfestigkeit ist optional möglich.
Der Trapezschlüssel ist durch seine unverkennbare Form der Inbegriff des KESO Schlüssels. Aufgrund seiner exklusiven Reide bietet der Trapezschlüssel eine erhöhte Benutzerfreundlichkeit. Mit dem neuen Design der Vertiefung am Schlüsselkopf erhöht sich spürbar das Wertempfinden des neuen Schlüssels. Er liegt angenehm in der Hand und die Bedienung des Zylinders fällt leicht. Mit unseren einmaligen Farbkappen versehen, ist die Identifizierung am Schlüsselbund noch einfacher. Der Trapezschlüssel wird in allen KESO Schließsystemen angeboten, ausserim System 2500FP. Der Schlüssel ist aus bruchfestem, korrosionsbeständigem Neusilber gefertigt. Eine Hartverchromung zur Verbesserung der Verschleißfestigkeit ist optional möglich.
Der Langschlüssel ist aufgrund seiner Bauart idealerweise dort einzusetzten, wo Schutzgarnituren mit Protektorenscheiben eingesetzt sind. Aufgrund seiner exklusiven Reide bietet der Langschlüssel eine erhöhte Benutzerfreundlichkeit. Mit dem neuen Design der Vertiefung am Schlüsselkopf erhöht sich spürbar das Wertempfinden des neuen Schlüssels. Er liegt angenehm in der Hand und die Bedienung des Zylinders fällt leicht. Der Schlüssel ist aus bruchfestem, korrosionsbeständigem Neusilber gefertigt. Eine Hartverchromung zur Verbesserung der Verschleißfestigkeit ist optional möglich.
Extralangschlüssel mit 15 mm Schlüsselschaft Aufgrund seiner exklusiven Reide bietet der Extra-Langschlüssel eine erhöhte Benutzerfreundlichkeit. Mit dem neuen Design der Vertiefung am Schlüsselkopf erhöht sich spürbar das Wertempfinden des neuen Schlüssels. Er liegt angenehm in der Hand und die Bedienung des Zylinders fällt leicht.
Der Schlüssel ist aus bruchfestem, korrosionsbeständigem Neusilber gefertigt. Eine Hartverchromung zur Verbesserung der Verschleißfestigkeit ist optional möglich.
Alle unsere Schließzylinder werden mit einer Sicherungskarte ausgeliefert. Diese berechtigt Sie Nachschlüssel anfertigen zu lassen. Nachschlüssel können Sie bei uns oder auch in jedem autorisierten Fachgeschäft anfertigen lassen. Bitte beachten Sie, dass Nachschlüssel - je nach Hersteller - im Vergleich zur Erstbestellung ein Vielfaches kosten können.
Bei unseren Schließzylindern handelt es sich ausschließlich um Neuware, die in beliebiger Stückzahl bestellt werden kann. Sie können bei unseren Schließzylindern auch später noch weitere Schließzylinder bestellen, die zu Ihrer Bestellung passen. So können Sie beispielsweise auch einen einzelschließenden Schließzylinder bestellen, den sie zu einem späteren Zeitpunkt mit einem weiteren Schließzylinder der gleichen Zylinder-Serie kombinieren können, sodass Sie dann mit nur einem Schlüssel-Set beide Schließzylinder auf- und zuschließen können (gleichschließend). Dies können Sie beliebig mit Doppel-Schließzylindern, Halb-Schließzylindern oder Knaufzylindern der gleichen Serie erweitern. Achten Sie deshalb bei Ihrer Bestellung darauf, dass es sich bei den Schließzylindern nicht um Restposten oder Insolvenzmasse handelt.
Bei uns können Sie die bestellten Schließzylinder auch nachbestellen.
Ihr schloss-shop-Team
Angaben zur Produktsicherheit - Hier klicken für mehr Infos