SR - PZ ZA Schutzrosettengarnitur für Holztüren 38 - 54 mm
Bemessung der Schutzrosette:
- Schritt 1 - wählen Sie die Rosettenbreite je nach Anforderung des Abzudeckenden Bereiches (schmal oder breit)
- Schritt 2 - messen Sie zuerst den Zylinderüberstand auf der Außenseite der Tür
- Schritt 3 - wählen Sie die entprechende Außenrosette Abstand zwischen Zylinder-Außenseite und der Türblatt-Außenseite Maß A
- Schritt 4 - Messen Sie nun die Stärke des Türblattes und wählen den entsprechenden Schraubensatz
Achtung: Bei der Auswahl des Schließzylinders muss das Maß der Rosette außen und innen dazu gerechnet werden!
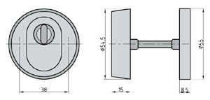
technische Daten:
| Maß A | Dicke der Außenrosette | 15 mm |
| | Dicke der Innenrosette | 8,5 mm |
| | Türstärke | 38 - 54 mm |
Bitte klicken Sie auf die nebenstehende technische Zeichnung um sich die technischen Abmessungen zu veranschaulichen!
Artikelbeschreibung:
- Aluminium-Schutzrosettengarnitur (Außen - und Innenrosette)
- mit Zylinderabdeckung
- für Holztüren
- Türstärke: 38 - 54 mm
- nicht sichtbare Verschraubung
- optional länge Schrauben bestellbar
Angaben zur Produktsicherheit - Hier klicken für mehr Infos
BASI GmbH, Konstantinstraße 387, 41238 Mönchengladbach, info@basi.eu